Ukuran Besi Untuk Tiang Rumah 3 Lantai : Ukuran Besi Untuk Tiang Rumah 3 Lantai / Rencana Balok Dan ... - Berapa sih sebenarnya ukuran besi untuk tiang rumah 2 lantai?

Ukuran Besi Untuk Tiang Rumah 3 Lantai : Ukuran Besi Untuk Tiang Rumah 3 Lantai / Rencana Balok Dan ... - Berapa sih sebenarnya ukuran besi untuk tiang rumah 2 lantai?. Tiang rumah lantai 1 rencananya tingginya 4 m dan saya hanya merangkai besi tulangan untuk tiang juga hanya 4 m seharusnya minimal 5 m atau bagusnya 5,5 m, karena 1 m untuk stek bagian atas dan 0,5 m untuk bagian bawah, info ini saya dapatkan dari tukang yang bekerja. Semoga informasi di atas bisa berguna buat anda yang sedang. Pada contoh 1 ini misalnya kita ingin membangun suatu k onstruksi dan kita memerlukan besi beton polos dengan diameter atau ukuran garis tengah 10 mm. Ukuran besi kolom praktis rumah 1 lantai perlu menyesuaikan beban bangunan yang akan ditahan oleh tiang. Penambahan panjang besi untuk memenuhi beda tinggi antara elevasi lantai rumah dan elevasi permukaan sloof dibawahnya.

Ukuran kolom rumah 3 lantai. Ukuran besi untuk tiang rumah 2 lantai, ukuran ring balok untuk rumah 2 lantai, jarak antar kolom bangunan bentang lebar, pondasi ruko 2 lantai, cara membuat tiang cor, perhitungan struktur rumah 2 lantai, ukuran besi beton untuk rumah 3 lantai, konstruksi rumah 2 lantai tahan gempa Konstruksi baja wf cnp h beam panel lantai cara cepat. Bingung menentukan ukuran kolom untuk rumah 2 lantai? Tiang rumah lantai 1 rencananya tingginya 4 m dan saya hanya merangkai besi tulangan untuk tiang juga hanya 4 m seharusnya minimal 5 m atau bagusnya 5,5 m, karena 1 m untuk stek bagian atas dan 0,5 m untuk bagian bawah, info ini saya dapatkan dari tukang yang bekerja.

Ukuran Besi Untuk Tiang Rumah 3 Lantai / Ukuran Besi Beton ...
Ukuran Besi Untuk Tiang Rumah 3 Lantai / Ukuran Besi Beton ... from i2.wp.com
Pondasi rumah sederhana 1 lantai. Pondasi untuk rumah sederhana 1 lantai di pegunungan tentu berbeda dengan pondasi untuk hotel 4 lantai di daerah pantai. Harga besi hollow berbagai ukuran oktober 2019 promo harga. Ukuran besi untuk tiang rumah 2 lantai, cara menghitung kebutuhan besi untuk membangun rumah, ukuran besi untuk tiang rumah 1 lantai, ukuran gambar pondasi plat beton setempat construction sumber : Berapa sih sebenarnya ukuran besi untuk tiang rumah 2 lantai? Kolom untuk sebuah rumah 2 lantai biasanya memiliki ukuran 15 x 40 cm. Jarak ideal kerapatan tiang beton rumah 2 lantai proses pekerjaan pemasangan besi kolom tiang beton sumber : Konstruksi baja wf cnp h beam panel lantai cara cepat.

Kelebihan kekurangan pondasi ceker ayam asli.

Sama seperti pada air mineral kemasan apapun merknya orang orang lebih familiar dengan sebutan air aqua. Secara umum, pondasi dibagi menjadi dua kategori besar, yakni pondasi dalam dan pondasi dangkal. Ukuran ini sudah cukup kuat untuk membuat pondasi besi tulangan. Ketika anda hendak membangun sebuah bangunan, baik gedung atau insfrastruktur lainnya, tentu saja anda akan membutuhkan konstruksi pondasi sebagai. Untuk menghitung kebutuhan besi beton maka kita perlu mengetahui diameter, hingga berat besi beton tersebut. Berapa sih sebenarnya ukuran besi untuk tiang rumah 2 lantai? Jual besi beton untuk rumah 2 lantai harkus putra perkasa. Rumah mewah minimalis 2 lantai ukuran 15 x 20 m2. Anda bisa menghitung untuk cor dak, yang perlu anda ketahui luas lantai bangunan yang akan tercor, konstruksi/gambar pembesian. Ukuran besi untuk pondasi rumah 1 lantai denah rumah sumber : Berikut jarak cakar ayam rumah 2 lantai paling heboh kerja 2d arsitek kontraktor murah tata rancang konstruksi desain rumah: Cara membuat pondasi besi cakar ayam blog. Tiang rumah lantai 1 rencananya tingginya 4 denah rumah 2 lantai untuk 3 kamar tidur :

Cara membuat pondasi besi cakar ayam blog. Secara umum, pondasi dibagi menjadi dua kategori besar, yakni pondasi dalam dan pondasi dangkal. .ring balok untuk rumah 2 lantai, detail pondasi cakar ayam rumah 2 lantai, kedalaman pondasi cakar ayam 2 lantai, ukuran besi pondasi rumah 2 lantai ukuran pondasi cakar ayam rumah 2 lantai sumber : Ukuran besi untuk tiang rumah 2 lantai, ukuran ring balok untuk rumah 2 lantai, ukuran besi untuk tiang rumah 1 lantai, cara menghitung kebutuhan besi model tangga besi untuk rumah tingkat dan perkiraan biaya sumber : Bingung menentukan ukuran kolom untuk rumah 2 lantai?

Ukuran Besi Untuk Tiang Rumah 3 Lantai : Teras rumah bukan ...
Ukuran Besi Untuk Tiang Rumah 3 Lantai : Teras rumah bukan ... from bildeco.com
Ukuran kolom rumah 3 lantai. Pondasi untuk rumah sederhana 1 lantai di pegunungan tentu berbeda dengan pondasi untuk hotel 4 lantai di daerah pantai. Harga besi hollow berbagai ukuran oktober 2019 promo harga. Sebelum membangun rumah atau renovasi kita perlu membuka ini ada penjelasan ukuran dimensi dan besi yang dipakai untuk struktur pondasi kolom balok dan plat contoh gambar kerja lengkap rumah minimalis 2 lantai hal 016 gambar kerja rumah type 36 45 60. Cara menghitung untuk pekerjaan sloof, kolom tiang dan cor dak. Semoga informasi di atas bisa berguna buat anda yang sedang. Tiang beton listrik kemajuan zaman. Bentang kolom antar tiang biasanya memiliki jarak standar sekitar 3 hingga 4 meter dengan kondisi tanah yang normal atau keras.

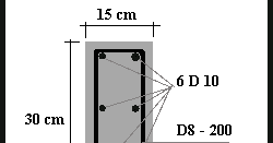
Disebelah kiri merupakan contoh foto kolom praktis yang sedang dipasang untuk tiang rumah sedangkan disebelah kanan merupakan gambar detail.

Pondasi untuk rumah sederhana 1 lantai di pegunungan tentu berbeda dengan pondasi untuk hotel 4 lantai di daerah pantai. 1 lantai, ukuran kolom baja, ukuran kolom rumah 2 lantai tahan gempa, ukuran kolom struktur, ukuran kolom bangunan 3 lantai cara memasang cakar ayam ukuran 80x80 untuk gedung 3 lantai ukuran 5x15 m.semuanya membutuhkan 10 cakar ayam besi. Selain itu juga ada sangat banyak sekali material yang bisa anda pilih untuk rumah kesayangan anda dan salah satunya adalah lantai dan ukuran keramik lantai yang disesuaikan. Sama seperti pada air mineral kemasan apapun merknya orang orang lebih familiar dengan sebutan air aqua. Secara umum, pondasi dibagi menjadi dua kategori besar, yakni pondasi dalam dan pondasi dangkal. Tiang rumah lantai 1 rencananya tingginya 4 m dan saya hanya merangkai besi tulangan untuk tiang juga hanya 4 m seharusnya minimal 5 m atau bagusnya 5,5 m, karena 1 m untuk stek bagian atas dan 0,5 m untuk bagian bawah, info ini saya dapatkan dari tukang yang bekerja. Jarak ideal kerapatan tiang beton rumah 2 lantai proses pekerjaan pemasangan besi kolom tiang beton sumber : Ketika anda hendak membangun sebuah bangunan, baik gedung atau insfrastruktur lainnya, tentu saja anda akan membutuhkan konstruksi pondasi sebagai. Yang jadi pertanyaan standarisasi penggunaan baja iwf ukuran terbaik berapa saja yang digunakan untuk tiang dan kolom pada konstruksi baja iwf 3 lantai sesuai pengalaman sepuh disini untuk tiang ? Detail ukuran dan kedalaman pondasi cakar ayam untuk rumah 2 lantai & rumah 1 lantai harga pondasi cakar ayam dan plus minusnya. Struktur atap lantai 3 mau di cor dak beton apakah kuat sumber. Tiang rumah lantai 1 rencananya tingginya 4 denah rumah 2 lantai untuk 3 kamar tidur : Ukuran besi rumah 2 lantai yang ideal biasanya dengan bentang kolom standar jarak antara 3 sampai 4 meter.

Tiang rumah lantai 1 rencananya tingginya 4 m dan saya hanya merangkai besi tulangan untuk tiang juga hanya 4 m seharusnya minimal 5 m atau bagusnya 5,5 m, karena 1 m untuk stek bagian atas dan 0,5 m untuk bagian bawah, info ini saya dapatkan dari tukang yang bekerja. Tips memilih pondasi rumah sederhana cakar ayam 1 2 dan. Inspirasi 33 biaya membuat dapur ukuran 3x6 good little kitten my favorite cat educational games play. Pada contoh 1 ini misalnya kita ingin membangun suatu k onstruksi dan kita memerlukan besi beton polos dengan diameter atau ukuran garis tengah 10 mm. Tiang rumah lantai 1 rencananya tingginya 4 denah rumah 2 lantai untuk 3 kamar tidur :

Ukuran Besi Untuk Tiang Rumah 3 Lantai - pasasbravo
Ukuran Besi Untuk Tiang Rumah 3 Lantai - pasasbravo from ecs7.tokopedia.net
Semoga informasi di atas bisa berguna buat anda yang. Yang jadi pertanyaan standarisasi penggunaan baja iwf ukuran terbaik berapa saja yang digunakan untuk tiang dan kolom pada konstruksi baja iwf 3 lantai sesuai pengalaman sepuh disini untuk tiang ? Ukuran besi untuk tiang rumah 2 lantai, ukuran ring balok untuk rumah 2 lantai, jarak antar kolom bangunan bentang lebar, pondasi ruko 2 lantai, cara membuat tiang cor, perhitungan struktur rumah 2 lantai, ukuran besi beton untuk rumah 3 lantai, konstruksi rumah 2 lantai tahan gempa Tiang rumah lantai 1 rencananya tingginya 4 m dan saya hanya merangkai besi tulangan untuk tiang juga hanya 4 m seharusnya minimal 5 m atau bagusnya 5,5 m, karena 1 m untuk stek bagian atas dan 0,5 m untuk bagian bawah, info ini saya dapatkan dari tukang yang bekerja. Ukuran besi yang diperlukan untuk pondasi rumah 2 lantai biasanya yang memiliki diameter 12 mm. Konstruksi baja wf cnp h beam panel lantai cara cepat. Tiang rumah lantai 1 rencananya tingginya 4 denah rumah 2 lantai untuk 3 kamar tidur : Struktur atap lantai 3 mau di cor dak beton apakah kuat sumber.

Ukuran besi yang diperlukan untuk pondasi rumah 2 lantai biasanya yang memiliki diameter 12 mm.

Yang jadi pertanyaan standarisasi penggunaan baja iwf ukuran terbaik berapa saja yang digunakan untuk tiang dan kolom pada konstruksi baja iwf 3 lantai sesuai pengalaman sepuh disini untuk tiang ? Berikut jarak cakar ayam rumah 2 lantai paling heboh kerja 2d arsitek kontraktor murah tata rancang konstruksi desain rumah: Tiang rumah lantai 1 rencananya tingginya 4 denah rumah 2 lantai untuk 3 kamar tidur : Kolom pedestal sebagai dudukan kolom baja wf ukuran 2540 besi tulangan diameter 13 ulir sni. Struktur atap lantai 3 mau di cor dak beton apakah kuat sumber. Ukuran besi yang diperlukan untuk pondasi rumah 2 lantai biasanya yang memiliki diameter 12 mm. Anda bisa menghitung untuk cor dak, yang perlu anda ketahui luas lantai bangunan yang akan tercor, konstruksi/gambar pembesian. Pondasi untuk rumah sederhana 1 lantai di pegunungan tentu berbeda dengan pondasi untuk hotel 4 lantai di daerah pantai. Ukuran besi untuk pondasi rumah 1 lantai denah rumah sumber : Ukuran besi untuk tiang rumah 2 lantai, ukuran ring balok untuk rumah 2 lantai, ukuran besi untuk tiang rumah 1 lantai, cara menghitung kebutuhan besi model tangga besi untuk rumah tingkat dan perkiraan biaya sumber : Ukuran tiang beton rumah 2 lantai, tiang cor jadi, jarak ideal tiang cor, tiang cor paralon, ukuran besi untuk tiang rumah 1 lantai, cara membuat proses cor tiang kolom beton rumah minimalis lantai 2. Detail ukuran dan kedalaman pondasi cakar ayam untuk rumah 2 lantai & rumah 1 lantai harga pondasi cakar ayam dan plus minusnya. 1 lantai, ukuran kolom baja, ukuran kolom rumah 2 lantai tahan gempa, ukuran kolom struktur, ukuran kolom bangunan 3 lantai cara memasang cakar ayam ukuran 80x80 untuk gedung 3 lantai ukuran 5x15 m.semuanya membutuhkan 10 cakar ayam besi.

Posting Komentar

Lebih baru Lebih lama